Qingdao Ruichen Sealing Sealing Technology Co, Ltd
Qingdao Ruichen Sealing Sealing Technology Co, Ltd
Produk
X

Segel U-Cup Tunggal Premium Premium

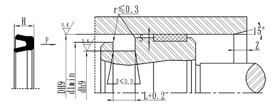
Ruichen Seals 'Segel U-Cup Lip U-Cup Tunggal sing nggunakake materi poliuretana (PU) kanthi dhuwur lan desain struktural asimetris. Compiting karo standar aliran alis internasional Iso5597, mula dikembangake kanthi nggunakake cara kanthi nggunakake aplikasi hidrolis. Nawakake kinerja sing subur, nyandhang resistensi, lan kapabilitas anti-extrusi, nggawe cocog kanggo mesin konstruksi, peralatan pertanian, lan sistem hidrolik industri.

Segel U-Cup Single-Taib Premium Premium minangka segal asimetrik sing dirancang kanggo nggunakake pistons. Iki cocog kanggo nyolong cara ing gerakan balesan hidraulik lan menehi kinerja sing apik. Alrove ConformA kanggo standar ISO5597.


Kahanan kerja sing ditrapake (watesan nilai ora katon ing wektu sing padha))

Tekanan MPA

Suhu ℃

Kacepetan m / s

Medium

≤40

-30 ~ + 100

≤0.5

Minyak Hidrolik, Mineral, Emulsion, lsp.


Pilihan Bahan: poliuretana (pu)


Conto conto

Model pesenan rcupd63x48x10 silinder diameter x diameter aliran x segel

Ekstrus celah

Tekanan MPA

Extrusion Gap SMAX

Silinder diameter d≤60mm

Silinder diameter d> 60mm

≤5

0.4

0.5

≤10

0.3

0.5

≤20

0.2

0.3

≤30

0.15

0.2

≤40

0.1

0.15


Hot Tags: Segel U-Cup Tunggal Premium Premium
Kirim Pitakonan
Info kontak
Entuk rega kompetitif, dhukungan teknis, lan tanggapan sing cepet. Kirimake spesifikasi kanggo ruichen kanggo solusi sealing sing cocog. Sampel gratis kasedhiya.
X
Kita nggunakake cookie kanggo menehi pengalaman browsing sing luwih apik, nganalisa lalu lintas situs lan nggawe konten pribadi. Kanthi nggunakake situs iki, sampeyan setuju kanggo nggunakake cookie. Kebijakan Privasi
nolak Nampa