Qingdao Ruichen Sealing Sealing Technology Co, Ltd
Qingdao Ruichen Sealing Sealing Technology Co, Ltd
Produk
X

TC Oil Seal

Segel lambe poros Rotary, sing umum dikenal minangka segel minyak, dipasang ing omah bantalan lan pindhah relatif menyang poros puteran. Balung logam nyedhiyakake dhukungan, lan spring ngetrapake preload radial menyang lambe sealing kanggo nyegah bocor pelumas lan intrusi rereged njaba.

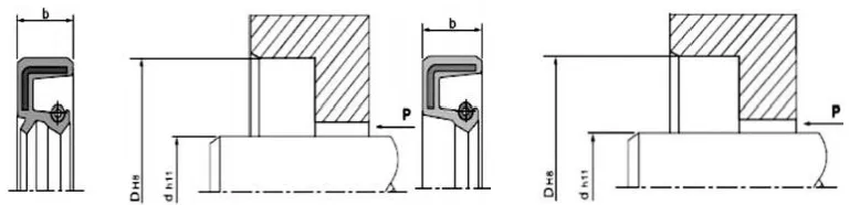
Struktur Instalasi lan Requirements

1. Bahan Poros: Umume digunakake yaiku baja karbon lan baja tahan karat. Kanggo kacepetan dhuwur, plating krom ditrapake ing permukaan, HRC40-45.

2. Desain Rotating Shaft lan Grooves: Lumahing batang kudu Gamelan lan Burr-free. Tandha mesin spiral bisa nggawe efek pompa, sing nyebabake bocor. Disaranake area pemasangan segel lenga digiling nganti kekasaran permukaan Ra0.1-0.5µm, dadi luwih lancar kanthi nambah kacepetan. Kanggo ease saka instalasi lan disassembly, poros lan grooves kudu dirancang karo chamfers utawa sudhut bunder Waca Gambar 1 lan 2.

Dhuwur sealing

b

b1(0,85xb)

mm

b2(b+0.3)

mm

r

maks.

7

5.95

7.3

0.5

8

6.80

8.3

0.5

10

8.50

10.3

0.5

12

10.30

12.3

0.7

15

12.75

15.3

0.7

20

17.00

20.3

0.7

Gambar 1. Desain alur chamfer


d

d3

R

<10

d-1.5

2

10~20

d-2.0

2

20~30

d-2.5

3

30~40

d-3.0

3

40~50

d-3.5

4

50~70

d-4.0

4

70~95

d-4.5

5

95~130

d-5.5

6

130~240

d-7.0

8

240~500

d-11.0

12

500~800

d-14.0

14

800~1250

d-18.0

16

Gambar 2 Desain Chamfer saka poros puteran


Faktor sing mengaruhi kinerja segel lip poros rotary 

Ana puluhan faktor sing mengaruhi efek sealing. Kejabi segel lenga dhewe, kayata materi lan struktur, faktor liyane kayata medium, suhu, meksa, lubrication, kacepetan, lan roughness lumahing uga langsung mengaruhi efek sealing, lan faktor iki asring sesambungan karo saben liyane. Bagan ing ngisor iki mung kanggo referensi pangguna.

Figure 3. Pengaruh suhu ing segel lenga


Instalasi: Instalasi sing ati-ati minangka prasyarat kanggo fungsi segel lenga.

Diagram instalasi (pemasangan rongga)

Cara instalasi sing bener

Kondisi kerja sing ditrapake

Cara instalasi sing salah

Cara iki mung ditrapake nalika pasuryan mburi segel lenga lan pasuryan mburi growong siram. Nalika peralatan mencet makaryakke kanthi cepet, segel lenga kudu dipanggonke bener; yen ora, misalignment bisa kelakon.

 

Desain iki cocok kanggo kahanan sing pasuryan mburi segel lenga luwih murah tinimbang pasuryan mburi growong. Sanajan kanthi cepet mencet, segel lenga isih bisa dipasang kanthi apik. Nanging, jinis peralatan iki ora duwe posisi radial, mula perpendicularity sumbu piring datar lan poros tekanan piranti kudu entuk presisi tartamtu.

Cara iki cocok kanggo kahanan sing pasuryan mburi segel lenga luwih murah tinimbang pasuryan mburi growong. Nalika mencet ing peralatan kanthi cepet, iku penting kanggo mesthekake segel lenga wis dipanggonke bener; yen ora, misalignment bisa kelakon.


 

 


Cara iki mung cocok kanggo pangopènan utawa kahanan instalasi prasaja yen peralatan meksa ora kasedhiya. Amarga meksa pancen seragam ora bisa digayuh sajrone instalasi, macem-macem masalah instalasi ora bisa dihindari. Iki utamané dirancang kanggo nyegah misalignment radial sak instalasi, kang bisa deform segel lenga, utawa kanggo nyegah karusakan ing karet saka bagean kawin segel lenga (lingkaran njaba) amarga ngaso sak instalasi. Mulane, cara instalasi iki umume ora dianjurake.

 

TC/SC/TB/SB segel lenga

Loro-lorone kasusun saka pigura logam, spring, lan awak karet. Pigura logam menehi dhukungan, lan spring ditrapake pasukan radial kanggo lambe sealing. Loro-lorone model TC lan TB duwe lambe tambahan sing tahan bledug, cocok kanggo aplikasi ing sisih siji ngemot medium sealing lan sisih liyane ngemot bledug. Model TB / SB duwe bunder njaba logam, nggawe segel lenga luwih aman lan akurat ing rongga. Nanging, kemampuan sealing saka bunder njaba diwatesi kanggo kurang-viskositas lan media gas; mulane, dianjurake kanggo aplikasi sealant kanggo bunder njaba sak instalasi lan nggunakake.

Bentuk cross-sectional

Model

Aplikasi

Tekanan

Suhu

Kacepetan

Sedheng

Bahan

TC

Sealing, tahan debu

0,03 MPa

-30~+160

20m/s

Minyak pelumas lan pelumas

NBR/FKM + Baja Karbon

SC

Sealing

TB

Sealing, tahan debu

-30~+100

25m/s

Banyu, lenga pelumas, pelumas

NBR + Baja Karbon

SB

Sealing

Model pesenan TC-d*D*b

Spesifikasi

Spesifikasi

Spesifikasi

Spesifikasi

Spesifikasi

Spesifikasi

Spesifikasi

TC-6 * 17 * 3.5

TC-9*25*7

TC-10*30*7

TC-12*25*10

TC-13*25*7

TC-14*32*8

TC-15*30*7

TC-7*18*7

TC-10*18*7

TC-11*22*7

TC-12*26*7

TC-13*26*7

TC-14*32*10

TC-15*30*8

TC-8*18*7

TC-10*19*7

TC-I1*25*7

TC-12*28*7

TC-13*28*7

TC-14*35*7

TC-15*30*10

TC-8*20*7

TC-10*20*5

TC-11*30*10

TC-12*28*8

TC-13*30*8

TC-14*35*8

TC-15*32*7

TC-8*22*7

TC-10*20*7

TC-12*19*3

TC-12*30*7

TC-14*24*7

TC-14*40*7

TC-15*32*10

TC-8*22*8

TC-10*22*5

TC-12*20*7

TC-12*30*10

TC-14*25*7

TC-15*22*8

TC-15*35*7

TC-8*25*7

TC-10*22*7

TC-12*21*7

TC-12*32*7

TC-14*26*7

TC-15*24*7

TC-15*35*8

TC-8*25*8

TC-10*22*8

TC-12*22*5

TC-12*32*10

TC-14*27*7

TC-15*25*5

TC-15*35*10

TC-8*30*7

TC-10*22*10

TC-12*22.5*5.5

TC-12*35*7

TC-14*28*7

TC-15*25*7

TC-15*38*7

TC-9*16*5

TC-10*24*7

TC-12*22*7

TC-12*35*10

TC-14*28*8

TC-15*25*8

TC-15*38*8

TC-9*18*7

TC-10*25*5

TC-12*22*8

TC-12.7*22.22*5

TC-14*28*10

TC-15*26*7

TC-15*38*10

TC-9*19*7

TC-10*25*7

TC-12*24*6

TC-12.7*25.4*7

TC-14*29*7

TC-15*27*7

TC-15*40*8

TC-9*20*7

TC-10*25*10

TC-12*24*7

TC-12.7*26*8

TC-14*30*7

TC-15*27*8

TC-15*40*10

TC-9*22*7

TC-10*26*7

TC-12*25*7

TC-12.7*30*8

TC-14*30*10

TC-15*28*7

TC-15*42*7

TC-9*24*7

TC-10*28*7

TC-12*25*8

TC-13*23*7

TC-14*32*7

TC-15*28*10

TC-15*42*8

 




Hot Tags: TC Oil Seal
Kirim Pitakonan
Info kontak
Entuk rega kompetitif, dhukungan teknis, lan tanggapan sing cepet. Kirimake spesifikasi kanggo ruichen kanggo solusi sealing sing cocog. Sampel gratis kasedhiya.
X
Kita nggunakake cookie kanggo menehi pengalaman browsing sing luwih apik, nganalisa lalu lintas situs lan nggawe konten pribadi. Kanthi nggunakake situs iki, sampeyan setuju kanggo nggunakake cookie. Kebijakan Privasi
nolak Nampa