Qingdao Ruichen Sealing Sealing Technology Co, Ltd
Qingdao Ruichen Sealing Sealing Technology Co, Ltd
Produk
X

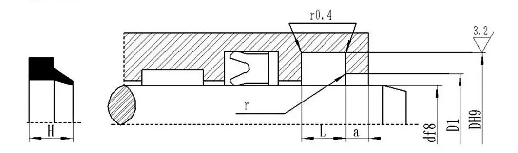
Wiper Seal GP6

Minangka produsen utama lan supplier rod pison ing china, ruughen seal 'GP6 debu sing dirancang khusus kanggo rod piston diameter gedhe. Digawe saka karet nitrile (nbr) (fluorororubber (fluororubber (fluororubber) kanggo kahanan suhu dhuwur), kanthi efektif ngalangi intrusi saka polutan, lan bisa nambah linuwih lan urip layanan segel sistem hidraulik.

Wiper GP6 digunakake kanggo nyegah rereged ora mlebu sistem hidraulik lan segel. Digawe saka NBR (karet nitrile), utawa FKM (Karet Fluorinated) kanggo aplikasi suhu suhu dhuwur, utamane digunakake kanggo bledug piston gedhe.


Tekanan MPA

Suhu ° C

Kacepetan m / s

Medium

-

-35 ~ + 100 (NBR)

1

Minyak Hidrolik, Emulsion, Banyu, lsp.

-20 ~ + 200 200 (FKM)


Metode tandha GP6-70 * 80.6 * * 5.3 / 7 Model-D * l / h



Hot Tags: Wiper Seal GP6
Kirim Pitakonan
Info kontak
Entuk rega kompetitif, dhukungan teknis, lan tanggapan sing cepet. Kirimake spesifikasi kanggo ruichen kanggo solusi sealing sing cocog. Sampel gratis kasedhiya.
X
Kita nggunakake cookie kanggo menehi pengalaman browsing sing luwih apik, nganalisa lalu lintas situs lan nggawe konten pribadi. Kanthi nggunakake situs iki, sampeyan setuju kanggo nggunakake cookie. Kebijakan Privasi
nolak Nampa