|
Tekanan/MPa |
Suhu / °C |
Kacepetan /m/s |
Sedheng |
|
≤40 |
-35~+100 (kanthi NBR O-rings sing cocog) |
≤2 |
Minyak hidrolik, emulsi, banyu, gas, lsp. |
-20~+200 (karo cocog O-rings FKM) |
1. Bahan O-ring sing cocog kalebu: R01 Nitrile Butadiene Rubber (NBR), R02 Fluororubber (FKM), etc.
2. Bahan ring Sealing: Bahan standar PTFE3 lan PTFE4; bahan pilihan liyane kalebu PTFE1, PTFE2, lan PTFE5.
Ruichen wis nindakake riset lan pangembangan lan produksi saka awal bahan mentah, nyadari kontrol kabeh rantai produk.
1. plastik Engineering lan bahan komposit: We njupuk polytetrafluoroethylene (PTFE) minangka inti, saka nyawiji, sintering kanggo ngecor, produksi sawijining kabeh jinis kapenuhan dipunéwahi bahan komposit tabung lan rod, lan banjur tliti Processing menyang asu laut. Iki njamin stabilitas lan kustomisasi sifat materi.
2. High-kinerja polyurethane elastomer: Kita miwiti saka casting prepolymer, independen gawé kualitas dhuwur polyurethane pipe lan rod bahan, lan proses menyang macem-macem jinis asu laut, kang pinunjul ing nyandhang resistance, resistance meksa lan resistance hidrolisis.
Tuladha Pesenan
Model Pesenan RC2054—80×69×4.2—PTFE3—R01 Model-D*d*L- Kode Bahan Model Pesenan RCX18—80×69x4.2—Model HPU-D*d*L- Kode Bahan
Tabel spesifikasi lan parameter (spesifikasi apa wae ing kisaran parameter kasedhiya)
|
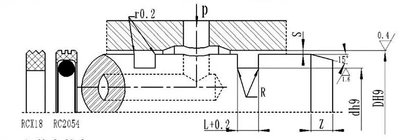
Range aperture DH9 |
Diameter parit dh9 |
Jembaré parit L+0.2 |
Reresik radial Smax |
sudhut bunder Rmax |
Chamfer Zmin |
|
|
0~10Mpa |
10~20Mpa |
|||||
|
8~39 |
D-4.9 |
2.2 |
0.15 |
0.1 |
0.4 |
2 |
|
40~79 |
D-7.5 |
3.2 |
0.2 |
0.15 |
0.6 |
3 |
|
80~132 |
D-11.0 |
4.2 |
0.25 |
0.2 |
1.0 |
4 |
|
133~329 |
D-15.5 |
6.3 |
0.3 |
0.25 |
1.3 |
5 |
|
330~669 |
D-21.0 |
8.1 |
0.3 |
0.25 |
1.8 |
7 |
|
670~1500 |
D-28.0 |
9.5 |
0.45 |
0.3 |
2.0 |
8 |
|
D |
d |
L |
D |
d |
L |
D |
d |
L |
D |
d |
L |
|
8 |
3.1 |
2.2 |
50 |
42.5 |
3.2 |
170 |
154.5 |
6.3 |
380 |
359.0 |
8.1 |
|
10 |
5.1 |
2.2 |
55 |
47.5 |
3.2 |
180 |
164.5 |
6.3 |
390 |
369.0 |
8.1 |
|
12 |
7.1 |
2.2 |
60 |
52.5 |
3.2 |
190 |
174.5 |
6.3 |
400 |
379.0 |
8.1 |
|
14 |
9.1 |
2.2 |
63 |
55.5 |
3.2 |
200 |
184.5 |
6.3 |
420 |
399.0 |
8.1 |
|
15 |
10.1 |
2.2 |
65 |
57.5 |
3.2 |
210 |
194.5 |
6.3 |
450 |
429.0 |
8.1 |
|
16 |
11.1 |
2.2 |
70 |
62.5 |
3.2 |
220 |
204.5 |
6.3 |
480 |
459.0 |
8.1 |
|
18 |
13.1 |
2.2 |
75 |
67.5 |
3.2 |
230 |
214.5 |
6.3 |
500 |
479.0 |
8.1 |
|
20 |
15.1 |
2.2 |
80 |
69.0 |
4.2 |
240 |
224.5 |
6.3 |
520 |
499.0 |
8.1 |
|
22 |
17.1 |
2.2 |
85 |
74.0 |
4.2 |
250 |
234.5 |
6.3 |
550 |
529.0 |
8.1 |
|
24 |
19.1 |
2.2 |
90 |
79.0 |
4.2 |
260 |
244.5 |
6.3 |
600 |
579.0 |
8.1 |
|
25 |
20.1 |
2.2 |
95 |
84.0 |
4.2 |
270 |
254.5 |
6.3 |
630 |
609.0 |
8.1 |
|
28 |
23.1 |
2.2 |
100 |
89.0 |
4.2 |
280 |
264.5 |
6.3 |
650 |
629.0 |
8.1 |
|
30 |
25.1 |
2.2 |
105 |
94.0 |
4.2 |
290 |
274.5 |
6.3 |
670 |
642.0 |
9.5 |
|
32 |
27.1 |
2.2 |
110 |
99.0 |
4.2 |
300 |
284.5 |
6.3 |
700 |
672.0 |
9.5 |
|
35 |
30.1 |
2.2 |
115 |
104.0 |
4.2 |
310 |
294.5 |
6.3 |
750 |
722.0 |
9.5 |
|
36 |
31.1 |
2.2 |
120 |
109.0 |
4.2 |
320 |
304.5 |
6.3 |
800 |
772.0 |
9.5 |
|
38 |
33.1 |
2.2 |
125 |
114.0 |
4.2 |
330 |
309.0 |
8.1 |
1000 |
972.0 |
9.5 |
|
40 |
32.5 |
3.2 |
130 |
119.0 |
4.2 |
340 |
319.0 |
8.1 |
|
|
|
|
42 |
34.5 |
3.2 |
140 |
124.5 |
6.3 |
350 |
329.0 |
8.1 |
|
|
|
|
45 |
37.5 |
3.2 |
150 |
134.5 |
6.3 |
360 |
339.0 |
8.1 |
|
|
|
|
48 |
40.5 |
3.2 |
160 |
144.5 |
6.3 |
370 |
349.0 |
8.1 |
|
|
|
Cathetan: Spesifikasi sing dibutuhake ora ana ing kene; hubungi perusahaan kita. We offer produk karo diameteripun maksimum 2800mm.



alamat
No.1 Ruichen Road, Taman Perindustrian Dongliuting, Kabupaten Chengyang, Qingdao City, Provinsi Shandong, China
Telp